| <<<< poprzednia | następna >>>> | Biblioteka |
|
|
|||||||||||||||||||||||||||||||
|
|
Vorderachse
|
||||||||||||||||||||||||||||||
|
|
|||||||||||||||||||||||||||||||
|
|
|
|
|||||||||||||||||||||||||||||
|
|
|
|
|||||||||||||||||||||||||||||
|
|
|||||||||||||||||||||||||||||||
|
|
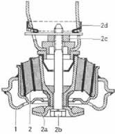
Bild M Gummilagerung der Vorderachsaufhängung im Schnitt
1 Vorderachsträger 2b Sechskantschraube
2 Gummitager 2c Rundmutter
2a Anschlagteller mit Anschlagpuffer 2d Mutterhalter |
|
|||||||||||||||||||||||||||||
|
|
|||||||||||||||||||||||||||||||
|
|
Werfereinstellung kontrollieren.
Vorderachshälfte
Ausbau — Prüfung — Zusammenbau An der ausgebauten Vorderachse werden die beiden Sechskantschrauben der oberen Querlenkerlagerung entfernt. Nun aus dem beim Ausbau der Vorderachse wieder provisorisch befestigten unteren Querlenker die Exzenterschrauben entfernen. Vorderachshälfte abnehmen.
|
|
|||||||||||||||||||||||||||||
|
|
|||||||||||||||||||||||||||||||
|
|
Bild 92 Achsichenkel im Schnitt
3 Unterer Querlenker 6 Führungsgelenk
|
|
|||||||||||||||||||||||||||||
|
|
|||||||||||||||||||||||||||||||
|
|
4 Oberer Querlenker
|
|
Traggelenk
|
||||||||||||||||||||||||||||
|
|
|
||||||||||||||||||||||||||||||
|
|
|||||||||||||||||||||||||||||||
|
|
5 Achsschenkel
|
|
41 Abdrückvorrichtung
|
||||||||||||||||||||||||||||
|
|
|||||||||||||||||||||||||||||||
|
|
|||||||||||||||||||||||||||||||
|
|
weilige Stoßdämpfer eingebaut bleibt, wird der Stoßdämpfer ausgebaut, so ist der untere Querlenker mit dem Federspanner 186589043200 abzustützen.
Ausbau
Ausbau der Bremszange. Abschrauben des Lenkspurhebels vom Achsschenkel. Selbstsichernde Muttern vom Führungs- und Traggelenk abschrauben. Vorrichtung 115589023300 einsetzen und das Traggelenk aus dem Achsschenkel drücken. Achsschenkel abnehmen.
Einbau
Abdeckblech und Vorderradnabe anbauen. Oberen und unteren Querlenker am Achsschenkel anbauen, die konischen Sitzbohrungen und die konischen Sitze müssen dabei absolut fettfrei sein. Anbau des Lenkspurhebels. Da der Lenkspurhebel nicht mit werkstattmäßigen Mitteln geprüft werden kann, ist im Zweifelsfall, besonders nach Unfällen, ein neuer Lenkspurhebel unter Verwendung eines neuen Halters am Achsschenkel zu befestigen. Sechskantschrauben zur Befestigung des Lenkspurhebels sind mit einem Drehmoment von 8 mkp anzuziehen. Lappen am Halter an den passenden Sechskantkopf anbiegen. Anbau der Bremszange. Bremsanlage entlüften.
Abschrauben der Querlenker oben und unten vom Achsschenkel.
Abschrauben der selbstsichernden Sechskantmuttern vom Traggelenk, sowie vom Führungs-
75
|
|
|||||||||||||||||||||||||||||
|
|
|||||||||||||||||||||||||||||||
|
|
|
|
|||||||||||||||||||||||||||||
|
|
|||||||||||||||||||||||||||||||
|
|
Bild 91 Vorderachshälfte mit Scheibenbremse
|
|
|||||||||||||||||||||||||||||
|
|
|||||||||||||||||||||||||||||||
|
|
3 Unterer Querlenker
4 Oberer Querlenker
5 Achsschenkel
6 Führungsgelenk
7 Traggelenk
10 Vorderfedar
11 Vorderer Stoßdämpfer
12 Drehstab
|
|
13 Gummilager
14 Halter
18 Bremszange
20 Spurstange
24 Lenkspurhebel
27 Drehstab-Verbindungsgestttnge
32 Abdeckblech
33 Halter
|
|
|||||||||||||||||||||||||||
|
|
|||||||||||||||||||||||||||||||
|
|
Achsschenkel
Der Achsschenkel ist über Kugelgelenke, dem Führungsgelenk und dem Traggelenk mit den Querlenkern verbunden.
Ausbau des Achsschenkels
Die Beschreibung des Aus- und Einbaues der vorderen Stoßdämpfer gelten nur, wenn der je-
|
|
|||||||||||||||||||||||||||||
|
|
|||||||||||||||||||||||||||||||
|
|
|||||||||||||||||||||||||||||||