| <<<< poprzednia | następna >>>> | Biblioteka |
|
|
|||||||||||||||||||||||||
|
|
Federn, Stoßdämpfer, Drehstäbe
|
||||||||||||||||||||||||
|
|
|||||||||||||||||||||||||
|
|
|
|
|||||||||||||||||||||||
|
|
Sind die Lager der Exzenterbolzen beim Ausbau nicht markiert worden, so sind sie vorläufig entsprechend der Bilder einzubauen. Muttern aufschrauben, aber noch nicht festziehen. Der Anzug darf erst erfolgen, wenn das Fahrzeug auf den Rädern steht. Stoßdämpfer am unteren Querlenker anbauen. Verbindungsgestänge zwischen Drehstab und Querlenker einbauen. Vorderräder anbringen, Fahrzeug abbocken. Querlenkereinstellung der Vorderachse und Einstellung der Vorderräder kontrollieren. Anzug der Exzenterbolzenmutter sowie Scheinwerfereinstellung überprüfen.
Hinterfeder Aus- und Einbau
Ausbau
Wagen hinten aufbocken. Hinterrad abnehmen. Hinteren Stoßdämpfer bzw. Federbein bei vorhandener Niveauregulierung ausbauen. Lenker mit Wagenheber etwa bis zur waagrechten Lage anheben. Federspanner 115589003100 einsetzen und die Hinterfeder zusammendrücken. Wagenheber bis zum Anschlag des Lenkers am Sicherheitsanschlag an dem Hinterachsträger ablassen und die Feder mit Gummilager herausnehmen.
|
|
|||||||||||||||||||||||
|
|
|||||||||||||||||||||||||
|
|
Bild 85 Eingebaut« Hirrterfedcr im Schnitt
5 Federbein 18 Hinterfeder
16 Dom am Rahmenboden 19 Schräglenker
17 Gummilager
|
|
|||||||||||||||||||||||
|
|
|||||||||||||||||||||||||
|
|
|||||||||||||||||||||||||
|
|
|
|
|||||||||||||||||||||||
|
|
|
|
|||||||||||||||||||||||
|
|
|||||||||||||||||||||||||
|
|
Bild 84 Zum Aus- und Einbau «iner Hinterfeder
|
|
|||||||||||||||||||||||
|
|
|||||||||||||||||||||||||
|
|
B2 Druckölleitung Niveauregler-
Federspeicher
B3 Druckölleitung Federspeicher-
Federbein |
|
|||||||||||||||||||||||
|
|
4 Federspeicher
5 Federbein
10 Drehstab
18 Hinterfeder
|
|
|||||||||||||||||||||||
|
|
|||||||||||||||||||||||||
|
|
|||||||||||||||||||||||||
|
|
19 Schräglenker
|
|
|||||||||||||||||||||||
|
|
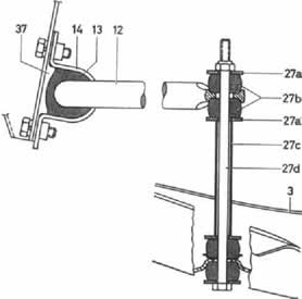
Bild 8« Dr.httab der VordmchM Im Schnitt
3 Unterer Querlenker 27a Scheibe
12 Drehstab 27b Gummiring
13 Gummilager 27c Abstandrohr
14 Haltebügel 27d Sechskantschraube
27 Verbindungsgestänge 37 Sicherungsblech |
|
|||||||||||||||||||||||
|
|
|||||||||||||||||||||||||
|
|
Einbau
Der Einbau geht umgekehrt wie der Ausbau vonstatten. Wagen abbocken. Schräglenkerstellung der Hinterachse kontrollieren und richtigstellen. Scheinwerfereinstellung kontrollieren.
Drehstab der Vorderachse Aus- und Einbau
Ausbau
Verbindungsgestänge zwischen Querlenker und Drehstab rechts und links abbauen. Abschrau-72
|
|
|||||||||||||||||||||||
|
|
|||||||||||||||||||||||||
|
|
ben der beiden Drehstabhaltebügel und abnehmen des Drehstabes.
Einbau
Vor dem Einbau Gummilager, Gummipuffer, Sechskantschrauben mit Tellerscheiben und Abstandrohren kontrollieren (Maße, siehe folgen-
|
|
|||||||||||||||||||||||
|
|
|||||||||||||||||||||||||
|
|
|||||||||||||||||||||||||